3月11日消息,日前,有用戶發現了一項來自蘋果的新專利,名為“集成在鍵盤設備中的輔助文顯示屏”,這項專利能夠在電腦的鍵盤或觸控板中加入輔助顯示屏,進而改善用戶使用體驗。

蘋果認為在現有的計算機系統中,用戶的輸入方式有一定缺陷:當用戶在使用鍵盤打字的時候,用戶無法同時兼顧手指敲擊的按鍵和顯示屏上呈現的字符,因此用戶需要在顯示屏和鍵盤之間來回切換視野,而這樣的動作可能會減緩或者中斷打字的操作,進而限制了用戶的生產力。

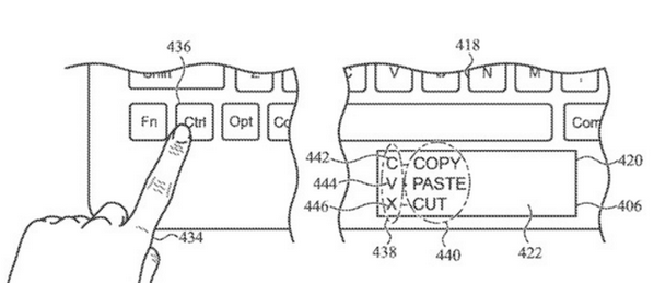
而在這份專利中,蘋果選擇在鍵盤的空格鍵和筆記本的觸控板中添加一個輔助顯示屏,輔助顯示屏僅顯示一些與鍵入的文字相關聯的單詞或詞組,或者是對單詞的一些聯想。此外,當用戶按下Ctrl、Alt這樣的功能按鍵時,顯示屏也能夠顯示一些按鍵組合的功能。

蘋果最近有不少鍵盤、觸控板相關的專利,此前還有類似將觸控板功能直接集成到鍵盤中以減少空間占用的專利。不過目前這些專利大多還只是一個想法或雛形,蘋果此后會在何時將這些專利帶到實際的產品中還不清楚。
關注我們
公眾號:china_tp
微信名稱:亞威資訊
顯示行業頂級新媒體
掃一掃即可關注我們