上周,美國專利和商標局網站上出現了一個關于手機屏幕的專利。專利申請方是三星顯示(Samsung Display)。

專利文件截圖:屏幕展開前
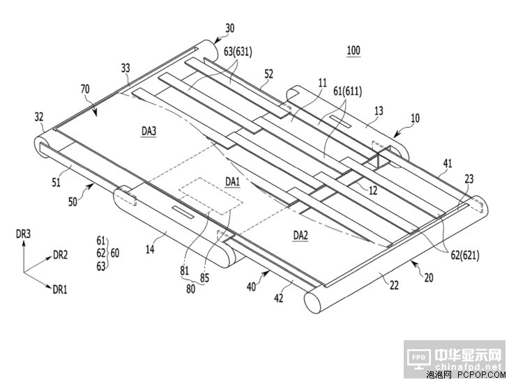
該專利描述了一種可以像“卷軸”一樣展開的手機屏幕。在展開前,手機的造型和傳統機型一樣,正面是一塊固定的顯示屏。使用者可以從手機兩側向外拉,展開兩塊拓展屏幕。

專利文件截圖:屏幕展開后
三星曾在2015年和2016年申請過“卷軸屏幕”的專利,但這次是第一個針對于手機的專利。另外,索尼和LG分別在2010年和2018年展示過類似的技術,但都不是手機屏幕。

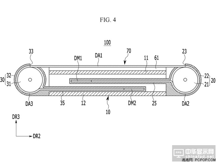
專利文件截圖:屏幕展開前手機橫截面
結合目前業界對于“可折疊”和“柔性屏”的積極態度,未來“卷軸手機”出現的可能性比以往都大。
關注我們
公眾號:china_tp
微信名稱:亞威資訊
顯示行業頂級新媒體
掃一掃即可關注我們