蘋果13日凌晨發布了iPhone 8、iPhone X等系列產品。本文通過梳理蘋果近年來在AR、AI等領域的專利技術,比如VR頭盔、虛擬電子卷軸、移動AR,一窺iPhone的發展前景。
隨著iPhone 8系列和iPhone X的發布,我們對當下的個人技術發展有了新的認識。但這次發布僅僅是個開端。
為了深入了解iPhone的發展前景,CB Insights研究了蘋果公司最新的專利,包括計算機視覺、前沿AR/VR技術、高級材料等。
盡管某些特定技術,如增強現實(AR),將會是短期內iPhone的重點關注,其他技術(例如未來全息展示),將在幾年內實現。以下專利技術,都是使用CB Insights的專利搜索引擎搜索得出。
1. 全息圖和3D顯示

以上專利申請叫做“交互式三維顯示系統”,詳細說明了一種可由用戶在空中進行操作,并無需借助特殊眼鏡的圖像顯示系統。該申請提交于2012年10月,可應用在教育、醫療診斷、生物醫學工程領域。
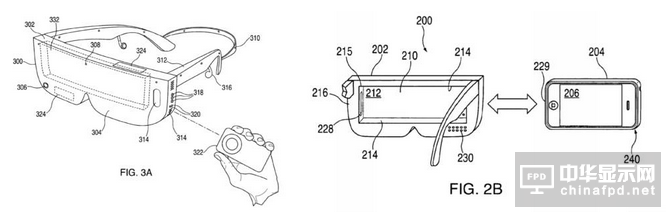
2. 虛擬現實頭盔
蘋果公司已有一項借鑒于移動頭戴顯示器(HMD)的專利,但可能在幾年內才能得到實現。這種頭戴顯示器可以與一臺iPhone中連接,充當虛擬現實設備。蘋果對頭戴顯示器的構想也是為了配合其設備生態系統。手持遙控器可以連接到頭戴顯示器。
以下是“帶便攜電子顯示裝置的HMD裝置”示意圖。該專利于2017年5月通過批準。

3. 柔性OLED顯示屏
iPhone X采用了OLED(一種全屏顯示屏)。OLED具有優質的對比度、色彩、功率效率,是從液晶屏(LCD)的重大跨越。OLED將在未來得到廣泛應用。
蘋果對OLED供應商的依賴可能會使早期迭代更加昂貴。但自2009年起,蘋果已申請20余個OLED相關專利,很有可能繼續關注這一技術。
蘋果在2017年一月提交的專利申請“柔性電子裝置“中,展望了超柔性iPhone,稱這種柔型電子裝置會在LCD和OLED中得到應用。

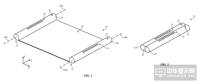
4. 數字卷軸
根據2016年四月的一項專利“帶伸縮式顯示屏的電子裝置“,蘋果開始考慮在未來iPhone中使用電子紙的可能性。該項專利詳細描述了一種可伸縮式裝置,展開來是一個類似長卷軸的屏幕。

5. 虹膜識別
在下一波智能手機使用人臉識別的浪潮中,蘋果擁有其他生物識別登陸技術。蘋果2017年7月的“使用生物識別驗證來授權訪問已修訂內容“的專利書中將虹膜識別作為有可能的唯一標志符。
“生物識別閱讀器可以讀取人唯一的生物識別數據(例如指紋,虹膜掃描,語音等)……當生物識別數據與庫中數據匹配成功時,人員將通過驗證。“
該專利書中的圖片顯示了用戶通過生物識別驗證后,短信中的個人信息才會顯示的過程。

6. 機器學習芯片
為了處理例如AR和Siri自然語言處理(NLP)等新型技術的計算,據說蘋果在iPhone開發專門的AI處理器。雖然六月推出了核心ML機器學習庫,蘋果只提交了11份關于“機器學習”和“神經網絡”的專利申請。
蘋果最新一次申請相關專利是在2016年五月,表示語音對文本和Siri的自然語言處理將會是蘋果在人工智能方面的重點關注。這項專利名為“將神經網絡語言模型應用于自動語音識別加權有限狀態感應器“,詳細介紹了自然語言處理的神經網絡過程,如下所示。

根據這次發布會,iPhone X將采用定制芯片來處理人工智能工作負載。這是一個雙核的“A11 生物神經網絡引擎“(A11 bionic neutal engine)芯片,每秒運算次數最高可達6000億次。
該芯片賦能的最重要之處是使用FaceID來快速識別人臉。
7. 人臉識別
iPhone X將采用全新的面部識別技術,以取代基于指紋識別的TouchID。正如TouchID一樣,該技術需要時間來提高精確度和速度。不出意外,蘋果在人臉識別方面獲得了5項專利授權和2項杰出應用專利授權。
以下是一項最近專利“使用人臉識別鎖定、解鎖移動設備“的示意圖,這可能是未來iPhone的最大改變。

蘋果表示將使用FaceID來解鎖手機,通過ApplePay進行支付。蘋果強調,該系統能突破面部裝飾、發型、面容老化等限制,精確識別,并將阻止未經授權的識別請求。
另外值得注意的是,蘋果在今年2月收購了一家專門從事人臉識別的以色列公司RealFace。

8. iPhone Stylus(蘋果手寫筆)
蘋果最近發布了蘋果鉛筆,可以與iPad Pro顯示屏搭配使用。蘋果手寫筆還獲得了幾項專利。
蘋果在2017年六月獲得了以下這款簡單的手寫筆的專利。
#p#分頁標題#e#
更早的一些設計,比如以下這款2016年的專利“電子裝置專用觸控筆”,更具連接性,在尾端可以與電源或USB連接器連接。

9. 增強現實地圖
蘋果表示出其占據增強現實市場的野心。目前在增強現實方面,蘋果有3項應用和6項專利。下圖是2016年蘋果申請的一項增強現實地圖專利,可以看到AR輕松覆蓋現實場景的效果。

10. 移動AR
2013年一項題為“用于多功能設備的同步互動增強現實顯示器”的專利,已經演示出了許多我們看到的ARKit demo,這項功能讓用戶能現場拍攝一個場景并實時進行處理。專利描述里說,“一幀直播視頻可以被拍下來(例如通過按按鈕)并使用已知的物體識別技術進行處理”。
昨天的發布會上,蘋果的最新一批手機擁有各種增強現實功能,包括AR出廠校準以及確保準確進行物體跟蹤的新的陀螺儀和加速度計。AR游戲工作室可能結合這些專利開發類似的游戲。

編譯來源:https://www.cbinsights
關注我們
公眾號:china_tp
微信名稱:亞威資訊
顯示行業頂級新媒體
掃一掃即可關注我們