蘋果電腦的顏色顯示效果有目共睹,經常被專業圖像人士用來作為辦公主力。不過,蘋果的工程師并沒有就此滿足,他們正計劃推出效果更好的顯示設備。

蘋果雙層LCD屏幕曝光
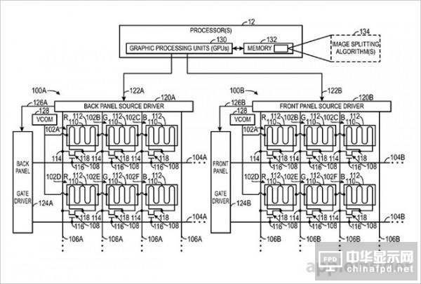
今天,國外媒體曝光了一項蘋果新的顯示技術專利,其名為“雙層高動態范圍顯示設備和圖像的分割”。
蘋果表示,傳統LCD屏幕會因為漏光等問題而造成色彩顯示不準,但如果通過堆疊兩灰度LCD和一個彩色LCD面板的結構來進行顯示,背光到達用戶眼中之前要經過雙層的LCD調制,因此會擁有更高的對比度。

蘋果雙層LCD屏幕曝光

蘋果雙層LCD屏幕曝光

蘋果雙層LCD屏幕曝光
為此,蘋果開發了一套專門的圖像分割算法,將畫面分成正面LCD和背面LCD面板顯示的兩個獨立圖像。隨后使用由目標函數布置約束界定的優化方法防止視差對亮度或清晰度的影響,同時該算法還可以防止削波偽像和光綻放,或光暈出現在前面板上。
蘋果公司說,該技術可以用在小型和超大屏幕當中,產品覆蓋范圍從iPhone到Mac,據說能夠將顯示器的對比度提升到1000000:1。
關注我們
公眾號:china_tp
微信名稱:亞威資訊
顯示行業頂級新媒體
掃一掃即可關注我們